老左笔记
专注云服务商活动
网站运营运维笔记
首页
主机推荐
美国主机优惠
香港虚拟主机
香港服务器租用
香港站群服务器
美国VPS推荐
美国服务器租用
便宜香港VPS
日本服务器推荐
韩国服务器推荐
美国大带宽服务器
日本VPS推荐
新加坡VPS推荐
云主机优惠
虚拟主机优惠
证书域名优惠
独立服务器优惠
主机测评
优惠推荐
Vultr优惠码
NameSilo优惠码
Gname优惠码
NameCheap优惠
GoDaddy优惠码
Dynadot优惠码
商家专题
国外独立服务器
国内国外域名商
教程
主机运维
主机文档
主机运用
域名教程
前端
网站主题
建站技术
资源工具
杂谈
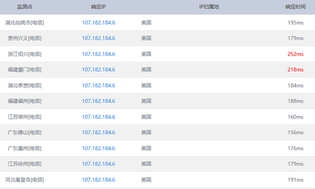
洛杉矶机房Ping测试参考
上一张
下一张