对于666clouds这个主机商我们可能还是经常用到的,这个主机商算是有几年的国人商家之一。提供小众且有特点的VPS。比如德国、英国、美国原生家庭网络,适合TK直播和GPT的云服务器。其中香港VPS采用的是150M+大带宽三网网络,适合有建站出海业务的。在这篇文章中,老左准备对于666clouds香港VPS进行简单的评测。
| 套餐 | 配置 | 带宽/流量 | 价格 | 链接 |
|---|---|---|---|---|
| A | 1vCPU / 1G内存20G SSD | 150Mbps/800GB | ¥55.00/月 | 链接 |
| B | 1vCPU / 1G内存20G SSD | 50Mbps/800GB | ¥50.00/月 | 链接 |
| C | 2vCPU / 2G内存40G SSD | 50Mbps/1200GB | ¥80.00/月 | 链接 |
在基础上可以用到优惠券:RC3B6L4UR4,可以八折优惠。

检测IP可以看到香港机房目前这个系列的机器不是ISP网络。

从中国电信(山东滨州)的去程路由来看,流量依次经过滨州、上海电信骨干网,随后通过香港电信节点抵达目标机房。全程主要走的是常规的电信163骨干网(AS4134),并未经过CN2等精品路由,这意味着该线路在高峰期可能会出现一定的拥堵和延迟,整体表现中规中矩,适合一般建站和日常业务,但不太适合对延迟极度敏感的量化高频交易场景。

在选择一个电信去程。从中国电信(江苏常州)发起的去程路由来看,流量在本地网络处理后,主要经过常州本地的电信骨干网节点,随后跨省进入北京电信骨干网,再经由上海电信骨干网节点,最终跨海抵达香港机房。全程主要走的是中国电信常规的163骨干网,没有经过CN2 GIA或CMIN2等高端精品路由,属于标准的大陆电信直连线路。

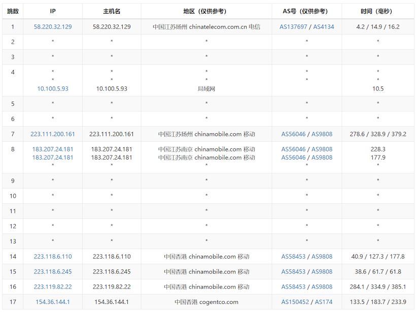
从中国移动(江苏扬州)发起的去程路由来看,流量在本地网络处理后,经过了省内的移动骨干网节点,随后跨省进入南京移动骨干网,最终抵达香港机房。全程主要走的是中国移动自家的 CMNET 骨干网(AS56046 / AS9808),并未经过特殊的优化路由,属于标准的移动直连线路。

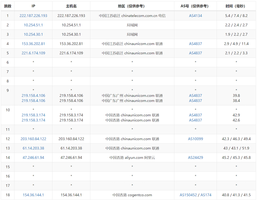
从中国联通(江苏宿迁)发起的去程路由来看,流量在本地网络处理后,经过江苏省内的联通骨干网,随后跨省进入广东广州联通节点,再经由香港联通骨干网(AS4837)直达目标机房。
总结,对于当前666Clouds 香港VPS,三网去程中,电信与联通分别走各自的常规骨干网(电信163、联通AS4837)直连香港,移动则经过省际骨干网(CMNET)到达香港;三者均未经过CN2或CMIN2等精品路由,属于标准线路,高峰期可能面临出口拥堵,整体表现中规中矩,毕竟价格在那边,适合一般的业务,他的特点就是带宽大一些。
如果需要香港CN2 VPS,可以看看这些。

老左笔记


















