电芒云,一个新晋的专业云服务提供商。在这里老左看到他们有提供香港、美国、新加坡等机房的云服务器产品和物理服务器。其中美国和香港机房都包括精品CN2网络和BGP综合线路网络产品。在这篇文章中,我们重点分享电芒云提供的美国精品CN2网络云服务器和美国BGP网络云服务器产品方案和简单评测。

我们分别看看他们家的美国精品网络和美国BGP网络。
美国精品网络方案
| CPU | 内存 | 硬盘 | 带宽 | IP数 | 线路 | 价格 |
|---|---|---|---|---|---|---|
| 双AMD | DDR4 | 30G | 1000M | 1个 | CN2/CUPM/CMI2 | $5.99起/月 |
| 双AMD | DDR4 | 30G | 3-1000M | 1个 | CN2/CUPM/CMI2 | $5.99起/月 |
| 1核心 | 2GB DDR4 | 30G | 1M 峰值 | 1个 | CN2/9929/CMI2 | $4.59起/月 |
| 2核心 | 4GB DDR4 | 50G | 3M峰值 | 3个 | CN2/9929/CMI2 | $9.79起/月 |
| 4核心 | 8GB DDR4 | 100G | 5M峰值 | 5个 | CN2/9929/CMI2 | $18.99起/月 |
| 8核心 | 16GB DDR4 | 200G | 10M峰值 | 10个 | CN2/9929/CMI2 | $37.99起/月 |
| 16核心 | 32GB DDR4 | 400G | 20M峰值 | 20个 | CN2/9929/CMI2 | $81.99起/月 |
我们可以看到服务商提供的美国精品网络方案中,选择还是比较灵活的。有自定义选择或者固定选择带宽和流量套餐的,不同的配置提供的带宽、IP数量有一些区别。
测试IP:38.148.205.196

本地的PING速度可以看到稳定性还是很高的没有丢包的问题。

全球随机节点的PING测试可以看到延迟测试稳定性也是很高,也没有丢包。

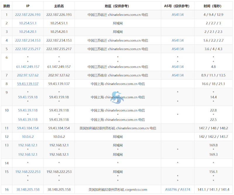
这里老左随机测试电信的去程节点,可以看到走的是59.43精品网络。
美国BGP网络方案
| CPU | 内存 | 硬盘 | 带宽 | IP数 | 价格 |
|---|---|---|---|---|---|
| 双AMD | DDR4 | 30G | 100-1000M | 1个 | $2.99 起/月 |
| 双AMD | DDR4 | 30G | 10-1000M | 1个 | $2.99 起/月 |
| 1核心 | 2GB | 30G | 5M | 1个 | $2.89 起/月 |
| 2核心 | 4GB | 50G | 10M | 3个 | $5.79 起/月 |
| 4核心 | 8GB | 100G | 20M | 5个 | $12.39 起/月 |
| 8核心 | 16GB | 200G | 50M | 10个 | $27.19 起/月 |
| 16核心 | 32GB | 400G | 100M | 20个 | $67.19 起/月 |
| 4核心 | 8GB | 100G | 20M | 1个 | $5.99 起/月 |
这里我们对比看看提供的BGP网络线路的美国主机。根据需要也有多个配置按照流量或者带宽可选的租客套餐,价格也是比较适中。
测试IP:154.26.238.138
这里,老左简单的对美国BGP网络测试。

从本地的PING测试可以看到,BGP网络的线路有部分丢包的,肯定不如上面的CN2精品网络,对于BGP网络适合主营全部海外群目标业务的。

随机电信节点去程,可以看到走的是202.97普通CN2 GT网络,走的是163网络。
对于电芒云服务商提供的美国CN2精品和BGP网络方案和简单的评测记录。后面单独对于他们的2个网络详细的内外评测。

老左笔记


















