JTTI,一个新加坡的老牌海外主机商,有提供日本、香港、美国、新加坡等多个机房的云服务器、独立服务器、轻量服务器等产品。近期看到有新增香港轻量云主机,比一般的服务商有特点的是提供200M带宽且可以选择国际线路和大陆优化线路的方案。

这里官方提供6个基本的套餐。
| 型号 | 月费 | 内核 | 内存 | 磁盘 | 带宽 | IP | 流量 | 选择购买 |
|---|---|---|---|---|---|---|---|---|
| HK轻量 | $9.35 | 1 个 | 1GB | 50GB | 200Mbps | 1 | 800GB | 立即订购 |
| HK轻量 | $11.01 | 1 个 | 2GB | 50GB | 200Mbps | 1 | 800GB | 立即订购 |
| HK轻量 | $12.67 | 2 个 | 2GB | 50GB | 200Mbps | 1 | 800GB | 立即订购 |
| HK轻量 | $21.75 | 2 个 | 4GB | 50GB | 200Mbps | 1 | 800GB | 立即订购 |
| HK轻量 | $24.52 | 4 个 | 4GB | 50GB | 200Mbps | 1 | 1600GB | 立即订购 |
| HK轻量 | $31.17 | 4 个 | 8GB | 50GB | 200Mbps | 1 | 1600GB | 立即订购 |
默认起步的配置1G内存、200M带宽,可以选择大陆优化线路和国际线路。这个带宽在同类产品中还是有足够的竞争力的。

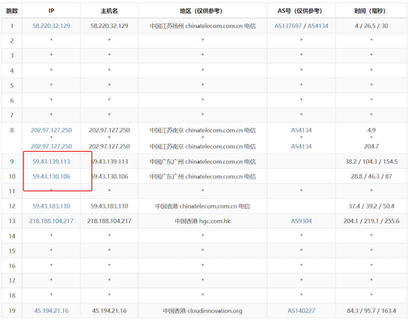
这里我们可以看到随机的电信去程,走的是精品网络。

我选的是大陆优化线路,这个IP兼容的流媒体还是比较全面的。
总结,如果我们有需要香港大带宽VPS,JTTI服务商提供的这个轻量香港VPS还是有竞争力可选的。

老左笔记



















