Lightlayer 服务商有提供菲律宾马尼拉云服务器产品,且也有两个数据中心线路。一个是精品优化线路(MANILA-Premium Network),一个是国际线路(MANILA-Global Network)。前者适合我们用户中国大陆地区或者是亚洲地区的业务且我们操作速度更有效率的。如果我们是完全用于非大陆地区的亚洲或者欧美地区的,可以用到菲律宾国际线路。

在这篇文章中,老蒋准备评测看看Lightlayer 菲律宾优化线路的方案。他们有弹性可选的配置。1G内存、5M带宽配置起步。
我们先看看菲律宾优化线路的本地PING延迟速度。

我本地电信线路看到的PING速度是50ms左右,还是比较好的。

这里我们在用全球节点的PING可以看到,整体我们国内的节点速度是比较好的,包括亚洲地区的。

我们在用全球测速看看效果,丢包率还是很少的。
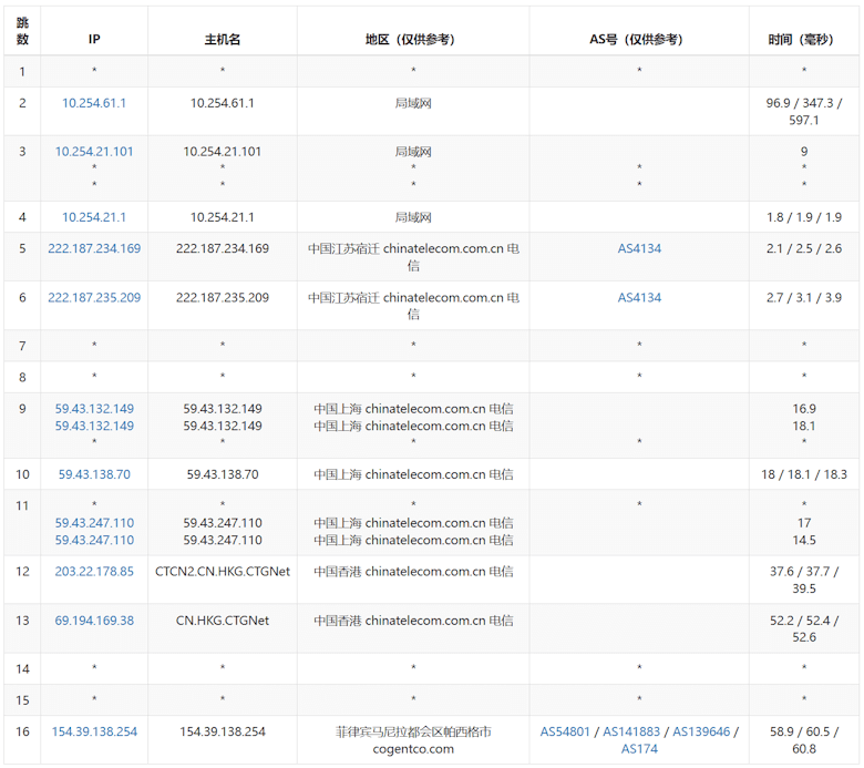
我们这里再看看国内传统三网的去程线路。
电信节点去程:

电信去程节点可以看到59.43优化线路,去到香港电信节点然后再到菲律宾的。
移动节点去程:

移动节点我们可以看到走的是直接到香港移动节点后到菲律宾。
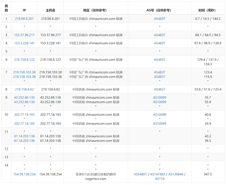
联通节点去程:

联通节点从广州联通出口到香港联通再到菲律宾。
最后,我们看看菲律宾VPS优化网络的线路方案。
| 核心 | 内存 | 带宽 | 价格 | 链接 |
| 1核心 | 1G | 5M/不限 | $5.00/月 | 立即选购 |
| 2核心 | 2G | 10M/不限(可升级) | $17.00/月 | 立即选购 |
| 1核心 | 1G | 10M/1T | $5.00/月 | 立即选购 |
| 2核心 | 2G | 20M/1T(可升级) | $17.00/月 | 立即选购 |
以上是四个固定的套餐,我们选择的时候可以根据需要CPU、内存、硬盘、IP等弹性调整的。可以选择Win和Linux系统。

老左笔记















