Lightlayer洛杉矶线路的云服务器中有三个线路,包括Premium、Standard和Global,分别是CN2 + 大陆BGP+国际 BGP,大陆用户的延时最低,线路最稳定;大陆BGP+国际 BGP,适合要求带宽较大,但是也能满足大陆延时较低的需求的用户;国际线路,适合大陆以外的纯海外、美国本地用户。在这篇文章中,老蒋准备测评洛杉矶CN2 BGP精品网络线路的性能。

在这篇文章中,老蒋准备评测看看Lightlayer 洛杉矶CN2优化线路的方案。他们有弹性可选的配置。1G内存、20M带宽配置起步。
我们先看看洛杉矶优化线路的本地PING延迟速度。

本地的PING测试可以看到平均低于150ms,而且是晚间测试的,说明网络稳定性还是很好的。

我们在测试随机的节点的区域的PING速度。

我们可以看到洛杉矶海外线路的稳定性丢包率还是比较好的。亚洲的稍微有几个丢包。
我们这里再看看国内传统三网的去程线路。
电信节点去程:

电信节点走的是59.43优化线路,直连洛杉矶电信。
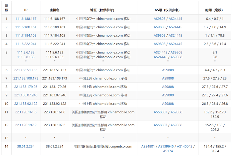
移动节点去程:

移动也是走的上海出口节点到洛杉矶移动节点直连。
联通节点去程:

同样的联通也是从北京移动节点出口到洛杉矶联通。
| 核心 | 内存 | 带宽 | 价格 | 链接 |
| 1核心 | 1G | 20M/不限 | $4.00/月 | 立即选购 |
| 2核心 | 2G | 30M/不限(可升级) | $5.60/月 | 立即选购 |
| 1核心 | 1G | 30M/1T | $4.00/月 | 立即选购 |
| 2核心 | 2G | 50M/1T(可升级) | $5.60/月 | 立即选购 |
对于 LightLayer 洛杉矶优化BGP线路而言,稳定性对于出海业务来说比较高的,而且价格也不贵。
老左笔记


















